![]()
| United States Patent | 4,869,331 |
| Borchard | Sept. 26, 1989 |
![]()
Leaf Spring
| Inventors: | Borchard; John S. (97-A Lowell Ave., Newton, MA 02160). |
| Appl. No.: | 306,693 |
| Filed: | Feb. 6, 1989 |
| Intl. Cl.: | G01G 3/08; F16F 1/18; F16F 1/20; |
| U.S. Cl.: | 177/229.; 267/47.; |
| Field of Search: | 158-165;47;260 |
![]()
References Cited
![]()
U.S. Patent Documents
| 1,904,188 | Apr., 1933 | Zahm et a;/ | |
| 4,053,729 | Oct., 1977 | Reiter | |
| 4,738,324 | Apr., 1988 | Borchard |
Primary Examiner: Miller, Jr.; George H.
![]()
Abstract
![]()
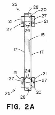
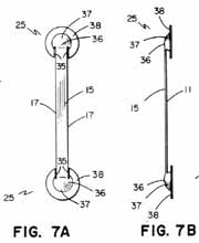
A leaf spring made of a flat, thin, metallic strip comprised of an elongated flexible member with two parallel sides terminating at either end into flat rectangular, crosslike or circular shapes with a width approximately twice the width of the strip at its midpoint. The ends are crimped or cold pressed downward and then outward near their edges to form flanges. The crimped or pressed ends become each foot of the leaf spring.
15 Claims, 26 Drawing Figures
![]()